消防人必知:消防給排水造價需要注意的那些事兒...
AFS系統組成

AFS系統設備安裝
探測、報警設備:探測器、控制模塊、報警控制器、報警裝置、區域顯示器,按“只” 、“m”、“臺”等計量。
控制、監控設備:聯動一體機、廣播、通信;事故照明;監控電視(CRT);排煙、通風、防火門;水泵、噴水、氣體、泡沫滅火系統;電梯;電源;防雷設備,以“臺”等計量。
系統及聯動系統調試,以“系統”計量。
安全防范系統SAS組成
發現:侵犯行為
輸送:信息線路
接收:信號及顯示

SAS安全防范系統設備
入侵探測:傳感、報警裝置及報警顯示,均以“套”計量。
傳輸及接收設備:按“臺”計量。
入口安全控制、電視監控攝像機(CCD)以“臺”或“套”計量。
系統調試:以系統控制的點數“點”或“系統”計。

室內給水、排水系統組成

室內室外給水、排水管道
計算要領:由入(出)口起,先主干,后支管;先進入,后排出;先設備,后附件。
室內室外管道界線劃分
計算規則:圖示管道中心線長度“m”計算。不扣除閥門及管件所占長度。
管材價值=按圖計算量×定額消耗量× 相應管材單價
室內室外給水、排水管道
管件、支架;沖洗、消毒、試驗。
管道除銹刷油:按“m2”計算。
鋼管 F=πDL 鑄鐵管 F=1.2 πDL
管溝土石方:按“m3”計算。
V=h(b+0.3h) l
土石方計算用《建筑工程預算定額》

給水、采暖、供熱系統閥門、組成
閥門:螺紋、法蘭閥,按“個”計量。組成:減壓器組、疏水器組、水表組,按“組”計量

衛生器具(注意計算范圍)
盆類:浴盆、凈身盆、洗臉盆、洗手盆、洗滌盆和化驗盆等,以“組”計量。
器類:淋浴器、大便器、小便器、小便槽沖洗管等,以“套”計量。
龍頭、地漏、掃除口、排水栓
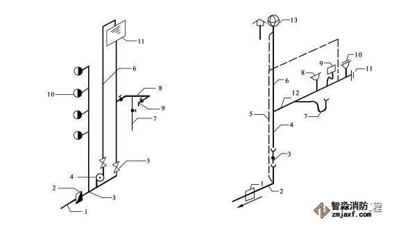
自動噴淋滅火系統
噴淋管道:管道中心線長度,以“m”計算。
閥門:螺紋、法蘭閥(定額第七冊)。
組合件:報警裝置及組成,以“組”計量;噴淋頭、水流指示器,以“個”計量。
系統裝置調試:按“系統”計量。

水滅火系統相應設備
室內、外消火栓,水泵接合器:以“套”計量。
消防水泵安裝:檢查接線調試。

海灣消防安全有限公司主營:GST海灣消防報警設備銷售,消防工程施工改造,氣體滅火、電氣/漏電火災、消防水系統施工安裝,售后維修保養,檢測,調試,海灣消防網站:http://m.jianlaiyiyao.com/;海灣消防服務熱線:4006-598-119
本頁關鍵詞:


蘇公網安備32058102002148號